
New Tamron patents have been found for a Tamron 100-400mm with internal zoom, 28-400mm F3.5-6.3, and 50-500mm.
overview
- [Publication number] P2025077582
- [Release date] 2025-05-19
- [Name of invention] Zoom lens and imaging device
- [Application date] 2023-11-07
- [Applicant]
[Identification number] 000133227
[Name or company name] Tamron Co., Ltd. - A compact, high-performance zoom lens and imaging device are provided.
- [Background Art]
[0002]
Photographing devices using solid-state image sensors, such as digital still cameras and digital video cameras, have become widespread. As the number of pixels of the solid-state image sensors used in these photographing devices increases, optical systems are required to have high resolution performance while maintaining a small size and light weight.

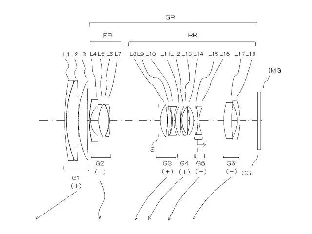
Example 1
- Focal length: 102.949-387.364
- F value: 5.525-8.330
- Half angle of view: 11.682-3.143
- Image height: 21.633
- Total length: 179.158-259.101
- Back Focus: 18.913-54.384

Example 2
- Focal length: 103.026-387.962
- F value: 5.769-7.312
- Half angle of view: 11.737-3.053
- Image height: 21.633
- Total length: 215.148
- Back focal length: 36.406

Example 3
- Focal length: 28.864-388.242
- F value: 3.591-6.547
- Half angle of view: 38.152-3.061
- Image height: 21.633
- Total length: 154.886-243.546
- Back Focus: 16.648-56.1239

Example 4
- Focal length: 51.525-491.282
- F-score: 4.546-7.832
- Half angle of view: 21.749-2.430
- Image height: 21.633
- Total length: 197-927-288.927
- Back Focus: 19.305-56.866
via ipforce